このページの内容は最新ではありません。最新版の英語を参照するには、ここをクリックします。
アクチュエータ サブシステムの依存関係の分離
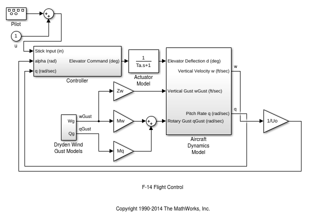
この例は、サブシステムが依存するモデル項目の強調表示を示します。また、強調表示されたモデルからのスタンドアロンのモデル スライスの生成を示します。
開始点および方向の選択
f14モデル例を開きます。openExample('simulink/AddBlockFromAnotherModelExample,'f14')[モデルの検証、妥当性確認、テスト] ギャラリーの下の [アプリ] タブで、[モデル スライサー] をクリックします。

モデル スライサーで、矢印をクリックして [スライス構成リスト] リストを展開します。スライスのプロパティを設定します。
名前:
Actuator_slice[名前] の右側の色の付いた四角形をクリックし、強調表示の色を設定します。パレットからマゼンタ
を選択します。信号伝播:
上流
開始点として
Actuator Modelサブシステムを追加します。モデルでActuator Modelサブシステムを右クリックし、[モデル スライサー]、[開始点として追加] を選択します。
参照先およびモデル スライスの生成
モデルは
Actuator Modelサブシステムより上流の依存関係を強調表示します。
後続する依存関係のパスをトレースしてください。
Pitch Rate q信号がControllerに入力され、このサブシステムからの出力がActuator Modelに入力されるため、Aircraft Dynamics Modelは強調表示されています。強調表示されたモデル項目を含むスタンドアロンのモデルを生成します。
モデル スライサーで [スライスの生成] をクリックします。
[書き込むファイルを選択] ダイアログ ボックスで、保存先を選択し、「
actuator_slice_model」と入力します。[保存] をクリックします。
スライス モデルには強調表示されたモデル項目が含まれます。

モデルの強調表示を解除するには、モデル スライサーを閉じます。